LX3V-1WT-L
1 Operating principle
When the metal material is subjected to tension or strain, the metal material becomes thinner and the electrical impedance increases. On the contrary, when it is compressed, the metal impedance becomes smaller. Applying this method to make a strain gauge is called a weighing module. Such sensing devices can convert pressure in physical phenomena into electrical signal output, so they are often used in applications where load, tension, and pressure are converted.
2 Introduction
- WECON LX3V-1WT-L expansion module’s resolution is 18-bit. The module can be used for reading signals from 4-wire or 6-wire configuration;
- Please read through the manual before powering on the module.
- This manual is only applicable for model number: LX3V-1WT-L. Please double check the mark on your module.
- Use FROM/TO command to read/write data on PLC LX3V or LX5V.
Specification
| Item | Description |
|---|---|
| Channel | Single channel |
| A/D converter | 18 bit Δˉ∑ A/D |
| Resolution | 18 bit (signed) |
| Speed | 7.5Hz to 4800Hz available |
| Polarity | Unipolar and bipolar |
| Non-linearity | ≤0.01% full scale(25oC) |
| Zero drift | ≤0.2μV/ oC |
| Gain drift | ≤10ppm/ oC |
| Excitation Voltage/ load | 5V, load impedance≥200Ω |
| Sensor sensitivity | 1mV/V to 15mV/V |
| Isolation | Transformer (power supply) and the optical coupler (signal) |
| Indicator light | Module power supply (24V) light, module internal data communication light (COM), communication indicator between PLC and module (LINK), channel indicator light and channel calibration light |
| Power supply | 24V±20% 2VA |
| Operating temperature | 0 to 60 oC |
| Storage temperature | -20 to 80 oC |
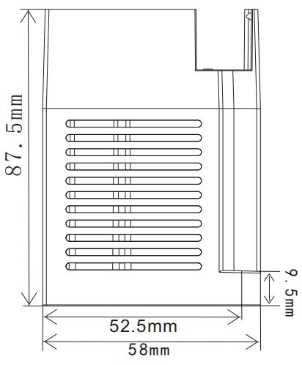
| Dimension | 90(L)x58(W)x80(H) mm |
Valid bits
Refer to sampling frequency in BFM description of this manual.
3 Dimensions
Dimensions


- Extension cable
- COM light: Module internal data communication indicator
- 24V light: Always on when connected to external 24V power supply
- WT light: Channel input/output indicator; WE light: Channel calibration indicator
- LINK: Communication indicator between PLC and module (LINK)
- Expansion module name
- Expansion module interface
- DIN rail mounting clip
- Hook for DIN rail
- Holes for direct mounting: 2 places (φ4.5)
| Name | Description | Light status | Event status |
|---|---|---|---|
LINK light | Communication indicator between PLC and module | Light flashes | Data is interacting normally (communication is normal) |
| Lights off | Data interaction is abnormal, stopped or failed | ||
| Always ON | Abnormal software operation or hardware failure | ||
COM light | Module internal data communication indicator | Light flashes | Data is interacting normally (communication is normal) |
| Lights off | Data interaction is abnormal, stopped or failed | ||
| Always ON | Abnormal software operation or hardware failure | ||
WT light | Channel output/input indicator | Light flashes | Analog input is out of range |
| Always ON | Analog input is within the range | ||
| Lights off | Channel closed | ||
| WE light | Calibration indicator for the channel | Lights off | Calibration succeeded |
| Always ON | Calibration failed or not calibrated |
Use of blade terminal

Use crimp terminals of the size shown in the figure. Terminal tightening torque is 0.5 to 0.8N.m. Be sure to tighten the screws so as not to cause malfunction.
Terminals
| Terminal | Terminal Instructions |
|---|---|
| 24V+ | Power supply+ |
| 24V- | Power supply- |
| Ground | Ground |
| FG1 | Sensor housing |
| E1- | Power supply - (5V) of the sensor |
| E1+ | Power supply + (5V) of the sensor |
| S1- | Signal output - of the sensor |
| S1+ | Signal output + of the sensor |
| F1- | Feedback - of the sensor |
| F1+ | Feedback + of the sensor |
| Other empty terminals | Empty pin, not connect any wires |
4 Wiring

✎Note:
- Impedance of the weighing sensor is greater than 200 Ω.
- Sensors with 4 wires need to have E1+ and F1+ connected, E1- and F1- connected.
6 Buffer register (BFM)
BFM list
| BFM | Power-off retention | Read/Write | Register name | Default | Range | Description |
|---|---|---|---|---|---|---|
| 0 | O | R | Model | 5013 | - | LX3V-1WT-L model number |
| 1 | O | R | System version | 18042 | - | Software version |
| 2 | O | R/W | Unipolar/ Bipolar | 0 | 0 to 1 |
|
| 3 | O | R/W | Sampling frequency | 1 | 0 to 4800 |
|
| 4 | X | R | State code | 0 | - | For details of each status code, see "Buffer Register BFM description”. |
| 5 | X | R | Error Code | 0 | - | A data register that stores all error states. Each error state is determined by the corresponding bit. It is possible to generate more than two error states at the same time.
|
| 6 | X | R/W | Tare read setting | 0 | Read the current average value as the tare weight.
| |
| 7 | O | R/W | Gross/Net weight display setting | 0 | Choose to display the current weight as gross weight (K0) or net weight (K1).
| |
| 8 | X | R/W | Weight Calibration instruction | 0 | The calibration is to make the module match the weight value of the load cell of the weighing module, the default value is 0. 0x0001: CH1 zero instruction.
✎Note: BFM#8 is automatically reset to 0 after a value is written to BFM#8 using the device monitor. | |
| 9 | X | R/W | Reset to default | 0 | 1: reset | Reset all BFM values to default |
| 10 | O | R/W | Filtering mode | 0 | 0 to 1 | Recalibration required after change |
| 11 | O | R/W | Filtering strength | 3 | 0 to 7 | Recalibration required after change |
| 12 | O | R/W | Zero tracking Intervals | 0 | 0 to 20000 | The minimum interval between two consecutive zero resets when the zero tracking function is enabled. Unit: 1ms. |
| 13 | O | R/W | Zero tracking range | 0 | 0 to 100 | 0: Zero tracking range is not limited Others: Set the zero tracking range (absolute value) |
| 14 | O | R/W | Automatically reset after boot | 0 | 0 to 4 |
|
| 15 | O | R/W | Sensor sensitivity setting (inside the module) | 4 | 0 to 5 |
✎Note: Please recalibrate after setting |
| 16 | X | R | CH1 average weight L | 0 | -2147483648 to 2147483647 | Average weight of CH1 (Low word) |
| 17 | CH1 average weight H | Average weight of CH1 (High word) | ||||
| 18 | O | R/W | CH1 sliding average | 5 | 1 to 50 | The setting range is K1 to K50, and the default value is K5. When the set value exceeds the range, the bit threshold value K1 or K50 is automatically changed |
| 19 | O | R/W | CH1 tare weight | 0 | -2147483648 to 2147483647 | You could write or read the tare weight #7 by instruction.(default to K0). Range: K-2147483648 to 2147483647. |
| 20 | ||||||
| 21 | O | R/W | CH1 standstill checking times | 200 | 0 to 20000 | Stability inspection time used in conjunction with the stability inspection range. Unit: ms |
| 22 | O | R/W | CH1 checking range | 10 | 1 to 100 | If the stability check range is set to 100 and the stability check time is set to 200ms, then the current weight range is within 100. the value lasts for 200ms is considered to be stable, otherwise it is considered unstable. The stability flag is displayed in BFM#4. |
| 23 | O | R/W | CH1 weight value calibration (weight basis point weight, sensor range (weight)) | 1000 | -8388608 to 8388607 | Input weight base weight with weight calibration; Input sensor range without without weight calibration. |
| 24 | O | |||||
| 25 | O | R/W | CH1 weight upper limit | 32767 | -8388608 to 8388607 | You could set the maximum weight value. When the measured value exceeds the set value, an error code will be recorded |
| 26 | O | R/W | ||||
| 27 | O | R/W | CH1 zero weight detection upper limit | 10 | -8388608 to 8388607 | Zero point judgment function: You could use the zero point judgment function to know that the item has been removed from the weighing module. You could judges that the measurement value is stable and the Bit is 1, which means that the item has been removed from the weighing module, and you could perform the next step at this time. (The zero point weight Bit in the zero point judgment range is 1) |
| 28 | O | R/W | ||||
| 29 | O | R/W | CH1 zero weight detection lower limit | -10 | -8388608 to 8388607 | |
| 30 | O | R/W | ||||
| 31 | X | R/W | Additional function options | 0 | 0 to 1 |
|
| 32 | X | R/W | Additional function options | 0 | 0 to 100 | Enable filter reset function
|
| 33 | X | R | Digital value L | 0 | - | Digital quantity collected by ADC |
| 34 | X | R | Digital value H | |||
| 35 | O | R/W | Calibration parameter A | 1 | -3.402823E+38 to 3.402823E+38 | Explain by CH1: After modifying the calibration parameters, #8 does not write 4, which is only displayed, not used for weight value calculation, and will not be saved after power off; #8 After writing 4, if the parameter range is correct, write and save it for weight value calculation, # 4 Error code Bit4 is set to 0, if the parameter range is wrong, no write operation will be performed, #4 error code Bit4 is set to 1. |
| 36 | O | R/W | ||||
| 37 | O | R/W | Calibration parameter B | 0 | -3.402823E+38 to 3.402823E+38 | |
| 38 | O | R/W | ||||
| 39 | O | R/W | Sensor sensitivity (specification) | 2000 | 0 to 32767 | The default setting of 2000 represents 2mV/V, and calibration without weights needs to set the sensor sensitivity accuracy. The sensitivity range can be set to 0~32.767mV/V, the sensor sensitivity BFM#39 enters a negative value, and it is directly converted to 32767 for execution. Example: Modified to 1942 means 1.942mV/V.. |
| 40 | X | R/W | Sensor feedback voltage L | 0 | - | Write:
Displays the low bit of the voltage value. Unit: uV. |
| 41 | X | R | Sensor feedback voltage H | 0 | - | Read: Display the high digit of the voltage value in uV. |
✎Note:
- O means retentive type.
- X means non-retentive type.
- R means readable data.
- W means writable data.
BFM description
BFM0: Module code
LX3V-1WT-L code: 5013
BFM1: module version
The software version is displayed in decimal, which is used to indicate the software version of the expansion module.
BFM2: Polarity
For bipolar, the signal will go through zero while it is in changing process, but unipolar will not. The result of the conversion from analog value to digital value is signed, so for bipolar signal the value could be minus.
BFM3: Sampling frequency
The frequency of input signal reading, the lower the frequency is, the more stable the value it gets, and the higher the precision is, but the lower speed gets.
| Setting | Sample frequency (HZ) | Sample precision (Bits) | Setting | Sample frequency (HZ) | Sample precision (Bits) |
|---|---|---|---|---|---|
| 0 | 7.5 | 23.5 | 6 | 300 | 21 |
| 1 | 10 | 17.5 | 7 | 600 | 15.5 |
| 2 | 25 | 17 | 8 | 960 | 15.5 |
| 3 | 50 | 16.5 | 9 | 2400 | 15 |
| 4 | 60 | 16.5 | 4800 | 4800 | 14.5 |
| 5 | 150 | 16 |
BFM4: State code
| Bit NO. | Status code | |
|---|---|---|
| 1 | 0 | |
| Bit0 | CH1 zero weight (no load) | CH1 is not empty |
| Bit2 | CH1 exceeds upper weight limit (overload) ✎Note: The upper limit weight is set by #27 and #28. | CH1 is not overloaded |
| Bit4 | CH1 measurement value is stable | CH1 measurement value is unstable |
| Bit6 | CH1 uncalibrated / calibrated error | CH1 calibrate successfully |
Bit8 Bit9 | 00: no error 10: The weight of the base point of weight is too large | 01: No-load calibration 11: Uncalibrated |
| Bit12 | CH1 exceeds the sensor range ✎Note: Determined by sensor feedback voltage | CH1 is within the sensor range |
| Bit14 | CH1 enters the calibration without weights | CH1 has not entered the calibration without weights |
BFM5: Error code
| Bit NO. | Content | Error state |
|---|---|---|
| Bit0 | K1 (H0001) | Abnormal power supply |
| Bit1 | K2 (H0002) | Hardware fault |
| Bit2 | K4 (H0004) | CH1 conversion error |
| Bit4 | K16 (H0010) | CH1 write calibration parameter error |
| Others | Reserved | |
✎Note: A data register that stores all error states. Each error state is determined by the corresponding bit. It is possible to generate more than two error states at the same time. 0 means normal without error; 1 means there is an error state. | ||
Tare setting: CH1-BFM6, CH2-BFM46
Writing 1 to CH1-BFM6/CH2-BFM46 is valid; after execution, reset to 0. Select the current weight value (BFM16-17) as the weight value for the tare weight (BFM19-20). Takes CH1 as an example.
The current weight value is 100, after tare setting:
- If the gross weight is currently displayed (BFM7=0), the tare weight (BFM19 to 20) becomes 100, and the current weight is still 100;
- If the net weight is currently displayed (BFM7=1), the tare weight (BFM19 to 20) It becomes the original value + the current weight value, and the current weight value becomes 0.
BFM8: Weight calibration instruction
Adjustment steps: (Described with CH1)
- Step1: Do not put any weights on the load cell.
- Step2: #8 value is written as 0x0001.
- Step3: Add standard weights to the load cell.
- Step4: Write the weight of the current weight on the chassis into #23.
- Step5: #8 value is written as 0x0002.
BFM11: filtering strength
The higher the filter strength is, the more stable and accurate the weight value is. But the delay time will increase accordingly, and the sensitivity will decrease.
BFM12: zero tracking interval
BFM#12 is used in conjunction with BFM#13. When BFM#13 is not 0, BFM#12 indicates the interval between the current automatic weight reset and the next automatic reset to prevent continuous reset.
BFM13:Range of Zero tracking
The accumulation range of zero point tracking. If the accumulation exceeds this range, the tracking will not continue.
| Settings | Description | Remark |
|---|---|---|
| 0 | Do not enable zero tracking | Default |
| 1 to 100 | When setting the zero tracking range (absolute value), tracking must be performed when the value is stable and the current weight is within the zero tracking range. | If set to 10, the current weight is ±9 and the stable flag is 1, the current weight is cleared. |
| ✎Note: When the accuracy of the measured items is not high, the temperature drift has little effect, and this function is not required. | ||
E.g: The setting value is 100, after the zero point drifts from the 0 position to more than ±100, the tracking will not continue. If it drifts back to within ±100, the tracking will be resumed.
BFM15: Set the AD chip gain
It can be set according to the sensor range. After the BFM is set, it needs to be re-calibrated.
| BFM15 | voltage range | Sensor sensitivity |
|---|---|---|
| 0 | ±5V | <1V/V |
| 1 | ±625mV | <125mV/V |
| 2 | ±312.5mV | <62.5mV/V |
| 3 | ±156.2mV | <31.25mV/V |
| 4 | ±78.125mV | <15.625mV/V |
| 5 | ±39.06mV | <7.812mV/V |
BFM 21 and BFM 22: stable check time and range
This function is used to determine whether the current weight value is stable.
For example: the stable check range is set to 10, the stable check time is set to 200, then within 200 ms, the current weight changes within ±10, the weight value is considered to be stable, and the Bit4 mark position of BFM# 4 is 1.
BFM 39: sensor sensitivity
According to the weighing sensor specifications, such as 2 mV/V sensor set to 2. If the sensor exceeds the range, the Bit12 mark position of BFM# 4 is 1.
BFM 40 BFM 41: sensor feedback voltage display.
The function is used to detect the feedback voltage in weight sensor, the voltage between the terminal S+ and S -. The voltage value is not displayed when the default value is 0.
| BFM40 | Function | Remark |
|---|---|---|
| 0 | 0: Non-display voltage | Voltage is signed double word. BFM# 40 is low word BFM# 41 is high word. |
| 1 | 1: Displays the current sensor feedback voltage(uV) | |
| 2 | 2: Displays zero voltage(uV) when calibrated | |
| 3 | 3: Display the voltage (uV) of the weight when calibrating |
Function Instructions
Net weight measurement function
You could choose whether the measured weight is net weight or gross weight. Net weight refers to the weight of the product itself, that is, the actual weight of the product after removing the weight of the outer packaging. The weight of the outer packaging is generally called the tare weight, and the gross weight is the total weight, which refers to net weight plus tare weight.
- Tare weigh:t Refers to the weight of the outer packaging.
- Net weight: Refers to the weight of the product itself, that is, the actual weight of the product after removing the weight of the outer packaging.
- Gross weight: Refers to the total weight, that is, the weight of the product itself (net weight), plus the weight of the outer packaging (tare weight)
- Gross weight = net weight + tare weight
E.g: There is a product that is 10KG, the carton it is packed in weighs 0.2KG, and the total weight is 10.2KG.
- Net weight=10KG
- Tare weight=0.2KG
- Gross weight=10.2KG
E.g: Use CH1 to measure the value to display the net weight, and CH2 to select OFF. (If the weight of the outer package is known, you can skip the step of reading the tare weight).
- Read the tare value
- Write H0000 in BFM7;
- Place the package on the CH1 weighing module;
- Write H0001 in BFM6, and take the current package weight as the tare weight.
- Set BFM7=H0001
Stability check
When placing the item on the weighing module to measure the weight, the user can use the stability check function to know that the current measurement value is stable.
- If the variation range of the measured value is within the stable range #22 set by the user, the #4 stable bit of the measured value will be set to 1.
- When the variation range of the measured value exceeds the set stability range, the #4 stable bit of the measured value will be set to 0, until the stability check time #21 is within the stable range, the #4 stable bit of the measured value will be set to 1 again.
E.g: The stability check time is set to 200ms, and the stability check range is 10. When the change range exceeds 10, the measurement value is unstable, that is, the #4 stable bit of the measured value will be set to 0. When the beating range is within 10 within 200ms, the stable bit of the measurement value will be set to 1 again. (It is recommended that the user should judge whether the current measurement value is stable before performing control).
Zero point judgment
You could use the zero point judgment function to know that the item has been removed from the weighing module. You could judge that the measurement value is stable and the Bit is 1, which means that the item has been removed from the weighing module, and you could perform the next step at this time. (The zero point weight Bit in the zero point judgment range is 1).
Filter function
The average value is the function of summing and averaging the read values to obtain a slowing value, but the environment used will have unavoidable external force factors, which will cause the read value to have a sharp change in the surge value. The change also becomes larger. The function of filtering is not to include the sharply changing surge value in the aggregated average, and the obtained filtered average value will not be affected by the sharply changed surge value.
6 Example
Current state of weight

Read the current weighing state BFM4 and judge it by Bit state. For details, please refer to the description of BFM4 in "5.2 Buffer Register Description".
Get current weight value

Write the average weight value (BFM16) of CH1 in the weighing module into D0.
Calibrating weight
*In the new version, the first step can also be used for manual reset.
The adjustment is to make the module match the weight value of the load cell of the weighing module. The adjustment steps are as follows. Described with CH1.

Tare weight and gross weight

Filter method setting
After setting the filtering mode and filtering strength, you need to calibrate it again.

Zero tracking
Zero tracking is used to reduce the temperature drift interference;
Set Zero Tracking Intensity to 0 to disable tracking. Set Zero Tracking Range to 0 to make it is unlimited.

Calibration without weights
Calibration without weights is performed by the zero point of the sensor and the maximum range of the sensor. The accuracy is related to the sensor specifications and depends on the sensor sensitivity (mV/V).
Example: The sensitivity of LAB-B-B sensor is 2.0±10%mV/V, and there may be a maximum error of 10%, so it is best to use a sensor with a small sensor sensitivity error to use this function.

Modify calibration parameters

✎Note: BFM35, BFM36, BFM37, and BFM38 are real number types (float). Real numbers need to be input when inputting. If the input exceeds the range, BFM5 will report an error in writing calibration parameters.
7 Diagnosis
Check
- Make sure all cables are connected properly;
- Make sure all rules regarding LX3V expansion modules are met. Such as expansion modules other than digital inputs and outputs are no more than 8 in total. The total number of digital inputs and outputs are no greater than 256.
- Make sure to select the correct operating range in application;
- Make sure power supply is working properly;
- LX3V CPU unit is in RUN mode;
Check errors
Check the following items, if LX3V-1WT-L does not work properly:
- Check the LINK state of power supply
- ON: Expansion cable is properly connected.
- OFF: Check the module connection cable.
- Check the wiring; Check status of the 24 V power indicator (LED) of the LX3V-1WT-L.
- On: LX3V-1WT-L is normal, and the 24VDC power supply is normal.
- Off: Supply 24 VDC (+10%) to the LX3V-1WT-L or check power supply
- Check the state of LED“COM”(on the right top corner of LX3V-1WT-L);
- ON: communicating
- OFF: Check the state of #5 (error).
If any bit (B0, B1, b2) is ON, that is why the COM indicator is off. For details, please refer to "(6)BFM5: Error Code" in "5.2 Buffer (BFM) description" of this manual.